匿名用户
在 2025/11/29 17:14:14 进行点评 我要回应
- 审稿时间:无回复
- 我的职称:副教授
- 我的学历:硕士
- 是否录用:尚无回复
- 查重要求:10%以下
- 有无课题:省部级
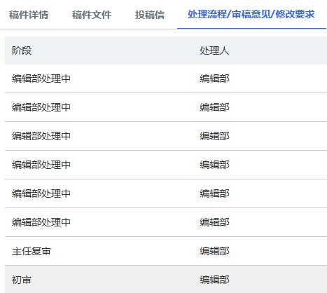
投稿主题:6个外审什么情况???
点评配图:
我的点评:各位学友好:请问主任复审后分配了6个外审是什么情况?有同样经历的学友吗,你们后续的审稿流程是?初审和主任复审均在计划时间内完成。另:外审阶段有两位审稿人两天就完成了审稿,但无法查看审稿意见。谢谢。
学术小较真儿
在 2025/3/10 15:08:09 进行点评 我要回应
- 审稿时间:3个月
- 我的职称:讲师
- 我的学历:在读博士
- 是否录用:尚无回复
- 有无回复:逾期无回复
我的点评:1月中旬主任复审结束,仍显示编辑部处理中,听说这种情况是在外审中了,但迟迟没动静,整个周期已经3个多月了,要不要改投呢?
草东没有派对
在 2024/12/10 21:19:07 进行点评 我要回应
- 审稿时间:无回复
- 稿件字数:11000字
- 我的职称:中级
- 我的学历:硕士
- 是否录用:尚无回复
投稿主题:基础教育课程改革
我的点评:想问一下 有没有朋友到现在一直显示登记稿件信息的 投了一个月了 一直这样 不知道该如何是好
PT
在 2024/6/12 19:33:22 进行点评 我要回应
- 审稿时间:无回复
- 我的职称:
- 我的学历:在读硕士
- 是否录用:尚无回复
- 发表排期:其他
我的点评:请输入有没有最近投搞的兄弟?
曲径通幽处
在 2024/5/1 17:52:19 进行点评 我要回应
- 审稿时间:1年+
- 我的职称:
- 我的学历:在读博士
- 是否录用:尚无回复
- 查重要求:15%以下
我的点评:外审修改来回4-5次了,现在主任复审的状态已经1个半月了,哪位大神知道主任复审阶段有没有戏被录用呀?主任复审一般多久啊?2年了,等得花儿都谢了。
学术小垃圾
在 2023/12/17 17:23:30 进行点评 我要回应
我的点评:请问一下,有么有在11月1日至12月1日之间出现任何流程变动的朋友啊?为嘛在初审结束之后还是编辑部处理中啊
卢卡斯
于 2024/10/2 17:29:02 回应:
我的是2024年8月投,初审后-主任复审-编辑部处理中,20天没有变化了。
大风吹倒梧桐树
在 2023/8/27 13:15:11 进行点评 我要回应
- 审稿时间:6个月
- 我的职称:
- 我的学历:硕士
- 是否录用:尚无回复
- 查重要求:10%以下
- 有无课题:国家级
- 有无回复:有自动回复
- 投稿难度:难
- 发表排期:其他
投稿主题:学校体育
点评配图:
我的点评:投稿将近半年,外审作者修改四次,请问各位学友这样还有希望吗?
一只小书虫
在 2023/7/25 15:22:08 进行点评 我要回应
- 审稿时间:无回复
- 我的职称:
- 我的学历:在读博士
- 是否录用:尚无回复
投稿主题:体育文化发展与传播
我的点评:初审
一只小书虫
于 2023/9/3 10:38:31 回应:
一个月退稿,无意见
chibei2020
在 2023/1/30 10:38:08 进行点评 我要回应
- 审稿时间:至今9个月
- 我的职称:
- 我的学历:
- 是否录用:尚无回复
- 发表排期:12个月
我的点评:我就是来吐槽下,4月份投稿,中间有个专家一直没返回,编辑部又送出去。10月份专家审回。不知道为什么编辑部又送出去,至今九个月了,一直专家外审。我就想问专家,你没空审就不要接行不,让办事效率高的专家来干,你哪凉快哪呆着去,四个多月一篇文章看不完?编辑部电话也打不通,真是大写的服。我们这些投稿作者的弱势群体如何维护自身利益?
网易
于 2023/1/30 10:40:06 回应:
哈哈哈!问下撒!
学术大拿
于 2023/6/2 17:05:42 回应:
与楼上同一个多月了,还在初审,不知道还有没有戏,感觉要是不想要的话可以退的直接点啊,何必浪费作者时间
期刊是好期刊,但是有时候外审真的看运气,投稿一年,外审10个月后,退稿,真不如早点退,继续努力吧
aaa
在 2023/1/6 17:31:58 进行点评 我要回应
- 审稿时间:无回复
- 我的职称:讲师
- 我的学历:博士
- 是否录用:尚无回复
- 有无课题:省部级
- 有无回复:有自动回复
我的点评:今日投出,两个半小时收稿。