wanq
在 2026/4/12 0:36:46 进行点评 我要回应
- 审稿时间:5个月
- 审稿费用:3500元
- 稿件字数:12000字
- 稿费:300元
- 我的职称:助理研究员
- 我的学历:在读博士
- 是否录用:修改后录用
- 有无课题:无
- 有无回复:有自动回复
- 投稿难度:难
- 发表排期:其他
- 该刊可发:在读博士独作
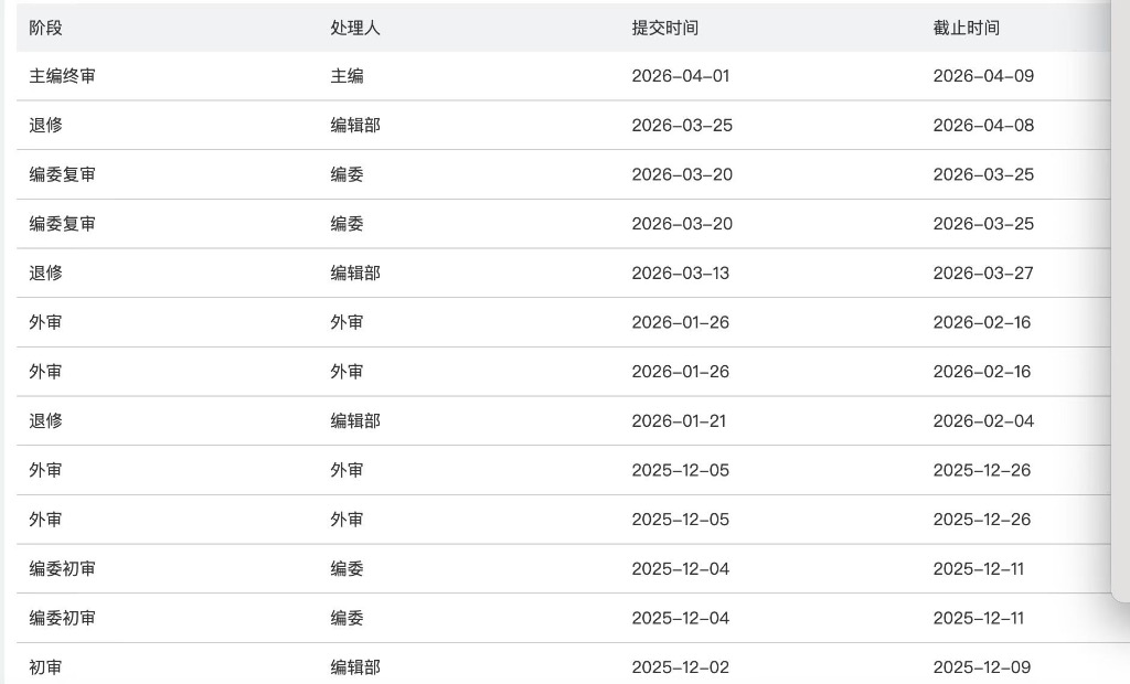
投稿主题:元分析
点评配图:

我的点评:元分析 博一独作没带导师没项目,25年12月投稿(这个时候还没定导师)。给广大学友提供参考(如图)。这个期刊还是可以国内心理学领域top2,算是比较耐打。抱着试一试的心,居然中了,让我怀疑看背景的时代过去了?总之我这篇确实个人感觉写的还不错
回复稿写了8万字(涵正文)
努力发论文的老王
在 2025/10/11 22:35:19 进行点评 我要回应
- 审稿时间:无回复
- 我的职称:
- 我的学历:
- 是否录用:拒稿
我的点评:当天退稿,主题不符,编辑老师还提醒我去看看投稿指南和发表论文,非常感谢
..
在 2023/4/13 18:58:36 进行点评 我要回应
- 审稿时间:6个月
- 我的职称:
- 我的学历:
- 是否录用:拒稿
- 有无回复:有自动回复
- 投稿难度:中等
我的点评:很好的
老男孩
在 2022/4/17 16:58:49 进行点评 我要回应
- 审稿时间:15天
- 我的职称:尚无
- 我的学历:在读博士
- 是否录用:尚无回复
- 查重要求:10%以下
- 有无课题:无课题
- 有无回复:有自动回复
- 投稿难度:难
- 发表排期:尚无出版
- 该刊可发:博士独作
投稿主题:元分析
点评配图:
我的点评:两个外审都是1天审完了,瑟瑟发抖,难道编委审查通过的稿子,外审都枪毙不成?
老男孩
在 2022/4/12 17:05:02 进行点评 我要回应
- 审稿时间:15天
- 稿件字数:15000字
- 稿费:300元
- 我的职称:尚无
- 我的学历:在读博士
- 是否录用:尚无回复
- 查重要求:10%以下
- 有无课题:无课题
- 有无回复:有自动回复
- 投稿难度:难
- 发表排期:12个月
- 该刊可发:博士独作
投稿主题:元分析
点评配图:
我的点评:2022年4月6号投了一篇文章,俩编委初审,还不是一起的,一个审完了接下一个。真是费劲。目前还没结果。没有之前体验好了。现在审稿卡的流程很慢。不知何时能进外审。
付与说书人
在 2022/2/26 9:17:29 进行点评 我要回应
- 审稿时间:3个月
- 我的职称:
- 我的学历:在读博士
- 是否录用:直接录用
- 投稿难度:难
我的点评:2021年11月29收稿,2022年2月25录用,经历编辑部初审、编委初审、外审、编委复审和主编终审后录用,各个环节都很负责及时,比《心理发展与教育》体验好N倍.
Mosimp
在 2021/9/15 17:59:59 进行点评 我要回应
- 审稿时间:8个月
- 审稿费用:700元
- 稿件字数:8000字
- 每版费用:1500元
- 我的职称:
- 我的学历:在读硕士
- 是否录用:修改后录用
- 有无课题:国家级
- 发表排期:11个月
我的点评:有一个研究构想栏目
和老师一起发的
是当年的基金本子改成的类似于研究计划书和综述的文章
审稿要求较高,退修了7次。连参考文献里的标点都让改全角半角。还有语句通畅问题。
但是审稿得非常仔细。很好!
shiyizhong2014
在 2019/10/8 10:20:28 进行点评 我要回应
- 审稿时间:7个月
- 我的职称:
- 我的学历:在读博士
- 是否录用:直接录用
- 投稿难度:较难
- 发表排期:3个月
投稿主题:认知神经科学 综述
我的点评:审稿周期相对较快,每个时间节点都很准时。编辑老师态度非常好。最后一次外审回来后,我修回慢了,提交修改稿的前一天刚刚开过编委会,所以终审等了2个月。只要认真按照修改意见尽最大可能修改,就有希望。
老男孩
在 2019/5/4 10:17:37 进行点评 我要回应
- 审稿时间:无回复
- 我的职称:
- 我的学历:
- 是否录用:修改后录用
我的点评:18年十月份投的,修改无数次后中的,很严格。欢迎多交流微信zhangyali531
didishould
在 2018/7/14 10:14:18 进行点评 我要回应
- 审稿时间:15天
- 我的职称:副教授
- 我的学历:博士
- 是否录用:拒稿
投稿主题:理论综述
我的点评:3天内拒稿,这样看来效率很高。该家侧重前沿理论综述,投的时候注意。并且要求很高。